Beim Anhängerbetrieb mit dem Toyota Land Cruiser Prado (IV Gen, J150, 2009–2023) sind umfangreiche Sicherheitsmaßnahmen und technische Voraussetzungen zu beachten. Der Beitrag behandelt Gewichtsgrenzen, Beladungsverteilung, Kupplungstypen und Schlingerdämpfung – inklusive spezifischer Empfehlungen für Kugelkopfwahl und Kupplungsrahmenmontage. Besonderes Augenmerk liegt auf Fahrverhalten mit Anhänger, wie Kurvenmanöver, Überholen, Anhalten und Rückwärtsfahren. Zusätzlich enthält der Leitfaden Hinweise zu Anhängerbeleuchtung, Reifendruckanpassung, Wartung, Fahrübungen und Verhalten bei Schlingern. Für Fahrer, die ihren Land Cruiser Prado im Gespannbetrieb nutzen, ist dieser Beitrag unverzichtbar für Sicherheit und Effizienz.
Ihr Fahrzeug dient in erster Linie zur Beförderung von Personen und Lasten. Das Fahren mit Anhänger beeinträchtigt Handhabung, Leistungsvermögen, Bremsleistung, Lebensdauer und Kraftstoffverbrauch des Fahrzeugs. Ihre persönliche Sicherheit und Zufriedenheit hängen sehr stark von der ordnungsgemäßen Verwendung der richtigen Ausrüstung sowie einer vorsichtigen Fahrweise ab. Zu Ihrer eigenen Sicherheit sowie der anderer Personen sollten Sie das Fahrzeug oder den Anhänger nicht überladen.
Für einen sicheren Anhängerbetrieb ist es wichtig, dass Sie vorsichtig fahren und die Eigenschaften und Betriebsbedingungen des Anhängers berücksichtigen.
Schäden oder Funktionsstörungen, die als Folge von kommerziellem Anhängerbetrieb auftreten, fallen nicht unter die Toyota-Garantie.
Fragen Sie bitte vor dem Fahren mit einem Anhänger Ihren Toyota-Vertragshändler bzw. die Toyota-Vertragswerkstatt vor Ort oder eine andere zuverlässige Werkstatt, da es dafür von Land zu Land unterschiedliche gesetzliche Vorschriften gibt.
Gewichtsgrenzen
Prüfen Sie vor dem Anhängerbetrieb die zulässige Anhängelast, die zulässige Gesamtmasse (zGM), die zulässige maximale Achslast und die zulässige Stützlast.
Anhängerkupplung/Rahmen der Anhängerkupplung
Toyota empfiehlt für Ihr Fahrzeug die Verwendung einer Anhängerkupplung/ eines Rahmens der Anhängerkupplung von Toyota. Andere geeignete Produkte vergleichbarer Qualität können ebenfalls verwendet werden.
Vermeidung von Unfällen
Beim Anhängerbetrieb ändert sich die Handhabung des Fahrzeugs. Vermeiden Sie die 3 häufigsten Unfallursachen beim Anhängerbetrieb: Fahrfehler, überhöhte Geschwindigkeit und Überladung.
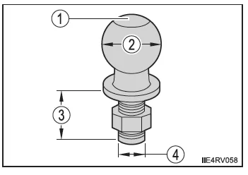
Auswahl eines Kugelkopfes
Verwenden Sie einen für Ihre Zwecke geeigneten Kugelkopf.
Darf nicht vom zulässigen Anhängergesamtgewicht des Anhängers überschritten werden.
Muss der Größe der Kugelpfanne entsprechen.
Auf den meisten Kugelpfannen ist die erforderliche Kugelkopfgröße eingestanzt.
Muss mindestens 2 Gewindegänge unter dem Federring und der Mutter hervorragen.
Muss dem Durchmesser der Montageöffnung für die Kugel entsprechen.

Anschließen der Anhängerleuchten
Verwenden Sie den im Heck untergebrachten Kabelbaum.
Wichtige Punkte zur Anhängerbeladung
■ Anhängergesamtgewicht und zulässige Stützlast
1. Anhängergesamtgewicht
Das Gewicht des Anhängers selbst plus die Anhängerzuladung dürfen die maximale Anhängelast nicht überschreiten. Überhöhtes Gewicht ist eine Gefahrenquelle. Verwenden Sie für den Anhängerbetrieb eine Antischlingerkupplung oder einen Stabilisator (Schlingerdämpfer).
Bei einem Anhängergesamtgewicht von mehr als 2000 kg muss ein Stabilisator (Schlingerdämpfer) verwendet werden.
2. Zulässige Stützlast
Verteilen Sie die Anhängerzuladung so, dass die Stützlast größer als 25 kg oder 4 % der Anhängelast ist. Die Stützlast darf das angegebene Gewicht nicht überschreiten.

■ Hinweisetikett (Herstellerschild)
1. Zulässige Gesamtmasse
Die Summe aus Fahrer- und Insassengewicht, Gewicht der Anhängerkupplung, Leergewicht und Stützlast darf die zulässige Gesamtmasse nicht um mehr als 100 kg übersteigen. Überhöhtes Gewicht ist eine Gefahrenquelle.
2. Zulässige maximale Hinterachslast
Das auf der Hinterachse lastende Gewicht darf die zulässige maximale Achslast nicht um 15 % oder mehr übersteigen. Überhöhtes Gewicht ist eine Gefahrenquelle.
Die Werte für die Anhängelast wurden durch Tests auf Meereshöhe gewonnen. Beachten Sie, dass Motorleistung und Anhängelast in großen Höhen abnehmen.
*: Um die Fahrzeugkategorie bestimmen zu können, setzen Sie sich mit einem Toyota-Vertragshändler bzw. einer Toyota-Vertragswerkstatt oder einer anderen zuverlässigen Werkstatt in Verbindung.
Typ A

Typ B

ACHTUNG
■ Wenn die zulässige Gesamtmasse oder die zulässige maximale Achslast überschritten wird
Ein Missachten dieser Vorsichtsmaßregel kann einen Unfall mit tödlichen oder schweren Verletzungen zur Folge haben.
● Erhöhen Sie den Reifendruck um 20,0 kPa (0,2 kgf/cm2 oder bar) gegenüber dem empfohlenen Wert.
● Überschreiten Sie nicht die vorgeschriebene Geschwindigkeitsbegrenzung für Anhängerbetrieb in geschlossenen Ortschaften oder 100 km/h, je nachdem, was niedriger ist.
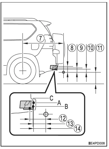
Einbaupositionen für Anhängerkupplung/Rahmen der Anhängerkupplung und Kugelkopf
5-türige Modelle


*1: Fahrzeuge mit Luftfederung mit Niveauregulierung an der Hinterachse.
*2: Fahrzeuge ohne Luftfederung mit Niveauregulierung an der Hinterachse.
3-türige Modelle


■ Beim An- und Abkoppeln eines Anhängers (Fahrzeuge mit Luftfederung mit Niveauregulierung an der Hinterachse)
● Ankoppeln
- Schalten Sie die Luftfederung mit Niveauregulierung an der Hinterachse in den Modus LO.
- Schalten Sie den Motorschalter oder die Luftfederung mit Niveauregulierung an der Hinterachse aus.
- Koppeln Sie den Anhänger an.
- Schalten Sie den in Schritt 2 ausgeschalteten Schalter ein.
- Schalten Sie die Luftfederung mit Niveauregulierung an der Hinterachse in den Modus N.
● Abkoppeln
- Schalten Sie die Luftfederung mit Niveauregulierung an der Hinterachse in den Modus LO.
- Schalten Sie die Luftfederung mit Niveauregulierung an der Hinterachse aus.
- Schalten Sie den Motorschalter aus.
- Fahren Sie das Anhängerstützrad aus und heben Sie die Deichsel um etwa 100 mm an.
- Schalten Sie den Motorschalter ein.
- Schalten Sie die Luftfederung mit Niveauregulierung an der Hinterachse ein.
- Warten Sie, bis sich die Fahrzeughöhe stabilisiert hat.
Stellen Sie sicher, dass die Deichsel abgekoppelt ist. Ist die Deichsel nicht abgekoppelt, heben Sie sie höher an und wiederholen Sie die Schritte 2 bis 7.
■ Reifen-Hinweise
● Erhöhen Sie bei Anhängerbetrieb den Reifendruck um 20,0 kPa (0,2 kgf/cm2 oder bar) gegenüber dem empfohlenen Wert. ● Erhöhen Sie den Luftdruck der Anhängerreifen entsprechend dem Anhängergesamtgewicht und in Übereinstimmung mit den Werten, die vom Hersteller Ihres Anhängers empfohlen werden.
■ Anhängerbeleuchtung
Prüfen Sie bei jedem Ankoppeln des Anhängers die korrekte Funktion der Blinkleuchten und Bremsleuchten. Eine direkte Verkabelung mit Ihrem Fahrzeug kann das elektrische System beschädigen und die korrekte Funktion der Leuchten beeinträchtigen.
■ Einfahrhinweise
Toyota empfiehlt, Fahrzeuge mit neuen Antriebsstrangteilen während der ersten 800 km nicht für den Anhängerbetrieb zu verwenden.
■ Sicherheitsprüfungen vor dem Anhängerbetrieb
● Stellen Sie sicher, dass die maximale Belastungsgrenze für den Kugelkopf der Anhängerkupplung nicht überschritten wird. Bedenken Sie, dass die Stützlast des Anhängers zu dem auf dem Fahrzeug lastenden Gewicht addiert werden muss. Stellen Sie sicher, dass das gesamte auf dem Fahrzeug lastende Gewicht nicht die Gewichtsgrenzen übersteigt.
● Stellen Sie sicher, dass die Anhängerzuladung gesichert ist.
● Zusätzliche Außenspiegel sollten angebracht werden, wenn der nachfolgende Verkehr mit den Standardspiegeln nicht ausreichend überblickt werden kann. Stellen Sie die Ausfahrarme dieser Spiegel auf beiden Seiten des Fahrzeugs immer so ein, dass sie eine optimale Sicht auf die Straße hinter dem Fahrzeug bieten.
■ Fahrzeugwartung
●Wenn das Fahrzeug für den Anhängerbetrieb verwendet wird, muss die Fahrzeugwartung häufiger durchgeführt werden, da im Gegensatz zum normalen Fahrbetrieb eine größere Gewichtslast auf das Fahrzeug einwirkt.
● Ziehen Sie nach ca. 1000 km Anhängerbetrieb alle Schrauben nach, mit denen der Kugelkopf und der Rahmen der Anhängerkupplung befestigt sind.
■ Wenn der Anhänger ins Schlingern gerät
Einer oder mehrere Faktoren (wie Seitenwinde, überholende Fahrzeuge, schlechte Straßen usw.) können die Handhabung des Fahrzeugs und des Anhängers beeinträchtigen und zu Instabilität führen.
●Wenn der Anhänger ins Schlingern gerät:
- Halten Sie das Lenkrad gut fest. Lenken Sie geradeaus.
Versuchen Sie nicht, das Schlingern des Anhängers durch Lenkbewegungen unter Kontrolle zu bringen.
- Gehen Sie sofort dazu über, die Geschwindigkeit zu verringern, indem Sie das Gaspedal nach und nach loslassen.
Erhöhen Sie nicht die Geschwindigkeit. Betätigen Sie nicht das Bremspedal oder die Feststellbremse.
Wenn Sie keine extremen Korrekturmaßnahmen mit dem Lenkrad oder den Bremsen vornehmen, sollte es zur Stabilisierung von Fahrzeug und Anhänger kommen.
(Die Anhängerstabilisierung kann, sofern sie aktiviert ist, ebenfalls zu einer Stabilisierung des Fahrzeugs und des Anhängers beitragen.)
● Nachdem das Schlingern des Anhängers aufgehört hat:
- Halten Sie an einem sicheren Ort an. Lassen Sie alle Insassen aussteigen.
- Überprüfen Sie die Reifen des Fahrzeugs und des Anhängers.
- Überprüfen Sie die Beladung des Anhängers.
Stellen Sie sicher, dass sich die Ladung nicht verschoben hat.
Stellen Sie nach Möglichkeit sicher, dass die Stützlast eingehalten wird.
- Überprüfen Sie die Beladung des Fahrzeugs.
Stellen Sie sicher, dass das Fahrzeug nicht überladen ist, nachdem die Insassen eingestiegen sind.
Falls Sie keine Probleme feststellen können, war die Geschwindigkeit, bei der der Anhänger ins Schlingern geriet, für Ihr Fahrzeug-Anhänger-Gespann zu hoch.
Fahren Sie zur Vermeidung einer weiteren Instabilität langsamer. Denken Sie daran, dass das Schlingern des Gespanns mit steigender Geschwindigkeit zunimmt.
ACHTUNG
■ Zur Vermeidung von Unfällen und Verletzungen
● Fahrzeuge mit Luftfederung mit Niveauregulierung an der Hinterachse: Wählen Sie für die Fahrzeughöhe die niedrige Einstellung und schalten Sie die Luftfederung mit Niveauregulierung an der Hinterachse aus, damit sich die Fahrzeughöhe nicht automatisch ändert.
● Fahrzeuge mit Reifenreparaturset: Fahren Sie nicht mit Anhänger, wenn ein montierter Reifen mit dem Reifenreparaturset repariert wurde.
HINWEIS
■ Wenn die Verstärkung des Heckstoßfängers aus Aluminium ist
Stellen Sie sicher, dass die Stahlhalterung nicht direkt mit diesem Bereich in Kontakt kommt.
Bei Kontakt von Stahl und Aluminium kommt es zu einer korrosionsähnlichen Reaktion, durch die der betroffene Bereich geschwächt wird und wodurch es zu Beschädigungen kommen kann. Tragen Sie Rostschutzmittel auf die Teile auf, die beim Befestigen einer Stahlhalterung miteinander in Kontakt kommen.
Hinweise
Ihr Fahrzeug reagiert im Anhängerbetrieb anders. Beachten Sie beim Fahren mit Anhänger zur Vermeidung von Unfällen oder lebensgefährlichen Verletzungen Folgendes:
■ Prüfen der Anschlüsse zwischen Anhänger und Beleuchtung
Überprüfen Sie den Anschluss zwischen Anhänger und Beleuchtung vor Fahrtantritt und halten Sie das Fahrzeug nach einer kurzen Strecke an, um den Anschluss erneut zu überprüfen.
■ Fahrübungen mit angekoppeltem Anhänger
● Machen Sie sich in einer Gegend mit wenig oder gar keinem Verkehr mit dem Abbiegen, Anhalten und Zurücksetzen bei angekoppeltem Anhänger vertraut.
● Halten Sie beim Zurücksetzen mit angekoppeltem Anhänger den Bereich des Lenkrads fest, der Ihnen am nächsten ist, und lenken Sie im Uhrzeigersinn, um den Anhänger nach links zu fahren, bzw. gegen den Uhrzeigersinn, um den Anhänger nach rechts zu fahren. Schlagen Sie das Lenkrad jeweils nur wenig ein, um Lenkfehler zu vermeiden.
Lassen Sie sich beim Zurücksetzen einweisen, um einen Unfall zu vermeiden.
■ Erhöhter Fahrzeug-zu-Fahrzeug-Abstand
Bei einer Geschwindigkeit von 10 km/h sollte der Abstand zum vorausfahrenden Fahrzeug mindestens die Gesamtlänge von Fahrzeug und Anhänger betragen. Vermeiden Sie plötzliches Bremsen, wodurch das Fahrzeug ins Schleudern geraten kann. Sie könnten die Kontrolle über das Fahrzeug verlieren. Dies gilt insbesondere auf nasser oder rutschiger Fahrbahn.
■ Plötzliches Beschleunigen/Lenken/Kurvenfahren
Das Durchfahren scharfer Kurven mit angekoppeltem Anhänger kann dazu führen, dass der Anhänger mit Ihrem Fahrzeug kollidiert. Bremsen Sie frühzeitig ab, wenn Sie sich einer Kurve nähern, und durchfahren Sie sie langsam und vorsichtig, um plötzliches Bremsen zu vermeiden.
■ Wichtige Punkte beim Kurvenfahren
Die Räder des Anhängers kommen näher an die Innenseite der Kurve heran als die Räder des Fahrzeugs. Um dafür Spielraum zu lassen, durchfahren Sie Kurven mit einem größeren Radius als gewöhnlich.
■ Wichtige Punkte zur Stabilität
Durch unebene Fahrbahnen und starke Seitenwinde verursachte Fahrzeugbewegungen beeinträchtigen die Handhabung. Das Fahrzeug kann auch durch überholende Busse oder große Lastwagen ins Schwanken geraten. Schauen Sie beim Fahren neben solchen Fahrzeugen regelmäßig in den Rückspiegel. Beginnen Sie bei Eintreten einer solchen Fahrzeugbewegung sofort, die Geschwindigkeit gleichmäßig herabzusetzen, indem Sie langsam die Bremse betätigen. Halten Sie das Lenkrad beim Abbremsen immer gerade.
■ Überholen anderer Fahrzeuge
Bedenken Sie die Gesamtlänge Ihres Gespanns und stellen Sie vor einem Spurwechsel sicher, dass der Fahrzeug-zu-Fahrzeug-Abstand ausreichend ist.
■ Informationen zum Getriebe
Fahren Sie nicht im 6. Gang (6-Gang-Schaltgetriebe) oder 5. Gang (5- Gang-Schaltgetriebe) bzw. Bereich 5 oder 6 des S-Modus, um nicht die Motorbremswirkung und die Ladeleistung der elektrischen Bauteile zu beeinträchtigen.
■ Wenn der Motor überhitzt
Das Ziehen eines beladenen Anhängers an einer langen, steilen Steigung kann bei Temperaturen von mehr als 30C zum Überhitzen des Motors führen. Wenn die Motorkühlmittel-Temperaturanzeige ein Überhitzen des Motors anzeigt, schalten Sie sofort die Klimaanlage aus, verlassen Sie die Straße und halten Sie das Fahrzeug an einem sicheren Ort an.
■ Beim Parken des Fahrzeugs
Legen Sie immer Unterlegkeile unter die Räder von Fahrzeug und Anhänger.
Betätigen Sie die Feststellbremse kräftig und schalten Sie den Schalt- /Wählhebel bei einem Automatikgetriebe auf "P" und bei einem Schaltgetriebe in den 1. bzw. Rückwärtsgang.
ACHTUNG
Befolgen Sie alle in diesem Abschnitt aufgeführten Vorsichtsmaßregeln. Anderenfalls kann es zu Unfällen mit lebensgefährlichen Verletzungen kommen.
■ Vorsichtsmaßregeln für den Anhängerbetrieb
● Achten Sie beim Fahren mit Anhänger darauf, keine Gewichtsgrenzen zu überschreiten.
● Verwenden Sie die Geschwindigkeitsregelung (falls vorhanden) oder die dynamische Radar-Geschwindigkeitsregelung (falls vorhanden) nicht, wenn ein Anhänger gezogen wird.
■ Fahrgeschwindigkeit bei Anhängerbetrieb
Beachten Sie die gesetzlich vorgeschriebenen Höchstgeschwindigkeiten für Anhängerbetrieb.
■ Vor der Abfahrt von Bergen oder langen Gefällstrecken
Verringern Sie die Geschwindigkeit und schalten Sie zurück. Schalten Sie niemals abrupt zurück.
■ Betätigung des Bremspedals
Treten Sie das Bremspedal nicht zu häufig oder anhaltend über längere Zeit.
Dies kann ein Überhitzen der Bremse und damit eine Beeinträchtigung der Bremswirkung zur Folge haben.
HINWEIS
■ Fahrzeuge mit Reifenreparaturset (falls vorhanden)
Ziehen Sie keine Anhänger bzw. leisten Sie keine Abschlepphilfe, wenn ein mit dem Reifenreparaturset reparierter Reifen montiert ist. Die Last auf dem Reifen könnte unerwartete Schäden an diesem verursachen.
■ Verspleißen Sie die Anhängerbeleuchtung nicht direkt
Direktes Verspleißen der Anhängerbeleuchtung kann das elektrische System Ihres Fahrzeugs beschädigen und eine Störung verursachen.
Der Toyota Land Cruiser Prado J150 (2009–2023) ist bestens für den Anhängerbetrieb vorbereitet. Mit einer robusten Anhängerkupplung, klaren Gewichtsgrenzen und durchdachten Sicherheitsfunktionen bietet er Fahrern maximale Kontrolle und Sicherheit – selbst bei anspruchsvollen Transportaufgaben.
Besonders hervorzuheben sind die Hinweise zur Beladung, zur Stützlast und zur Fahrweise mit Anhänger. Die Luftfederung mit Niveauregulierung, die Anhängerstabilisierung und die präzise Anleitung zum An- und Abkoppeln machen den Land Cruiser zu einem verlässlichen Partner im Anhängerbetrieb.
Der Toyota Land Cruiser Prado IV Gen zeigt, wie vielseitig und leistungsfähig ein moderner Geländewagen sein kann. Wer regelmäßig mit Anhänger fährt, findet hier ein Fahrzeug, das Sicherheit, Komfort und Technik perfekt vereint.
Hyundai Santa Fe. Fahren mit Anhänger
Das Fahren mit Anhänger erfordert Erfahrung. Bevor Sie mit einem Anhänger
am öffentlichen Straßenverkehr teilnehmen, ist es ratsam, das Ziehen eines
Anhängers zu übe ...
Mercedes-Benz M-Klasse. Probleme mit Kraftstoff und Kraftstoffbehälter
In diesem Abschnitt sind sicherheitsrelevante Probleme und deren
Lösungen beschrieben. Eine Beschreibung weiterer Probleme und
deren Lösungen finden Sie in der Digitalen Betriebs ...