Die Anhängerkupplung im Volvo XC90 (2 Gen) ist in verschiedenen Varianten verfügbar – auch als elektrisch einklappbare Version. Regelmäßige Reinigung und Schmierung sind Pflicht (außer bei Schlingerdämpfung). Bei montierter Kupplung entfällt die Halterung für die Abschleppöse. Für den Betrieb müssen Anzeigeleuchten korrekt aktiviert sein – durch Öffnen der Heckklappe. Beim Ein- und Ausklappen der Kupplung darf kein Anhänger angekoppelt sein. Technische Schritte: Kupplung über Schalter entriegeln, aus- oder einklappen, bis sie einrastet – dann leuchtet die Kontrollanzeige. Stromsparmodus kann Anzeige deaktivieren – durch Öffnen der Heckklappe wieder aktivieren. Vor dem Einklappen alle Stecker entfernen. Sicherheitsseil des Anhängers muss korrekt befestigt werden. Zu den technischen Daten: Volvo stellt detaillierte Maße und Positionen zur Verfügung, damit sich Zubehör wie Fahrradträger oder Anhängervorrichtungen sicher montieren lassen.
Das Fahrzeug kann mit einer Anhängerkupplung ausgestattet werden, dass z.B. ein Anhänger angeschlossen werden kann.
Eventuell stehen verschiedene Ausführungen der Anhängerkupplung zur Auswahl; wenden Sie sich hierzu bitte an Ihren Volvo Partner.
Informationen zu den zulässigen Zuggewichten und Stützlasten finden Sie im Abschnitt "Zuggewicht und Stützlast".
| WICHTIG Beim Abstellen des Motors kann die konstante Batteriespannung am Anhängeranschluss automatisch abgeschaltet werden, um eine Entladung der Startbatterie zu verhindern. |
| WICHTIG Das regelmäßige Reinigen und Schmieren des Kugelkopfes verhindert übermäßigen Verschleiß. |
| ACHTUNG Bei Verwendung einer Kugelkupplung
mit Schlingerdämpfung darf der Kugelkopf nicht geschmiert werden.
Dies gilt auch, wenn an der Anhängerkupplung ein Fahrradträger befestigt wird. |
| ACHTUNG Wenn das Fahrzeug mit einer Anhängerkupplung ausgestattet ist, befindet sich am Heck keine Halterung für die Abschleppöse. |
Themenbezogene Informationen
Die ein-/ausklappbare Anhängerzugvorrichtung ist immer leicht zugänglich und lässt sich bei Bedarf mühelos ausklappen. In eingeklappter Stellung ist die Anhängerzugvorrichtung vollständig verborgen.
| WARNUNG Befolgen Sie die Anweisungen zum Ein- und Ausklappen der Anhängerzugvorrichtung genau. |
Anhängerzugvorrichtung ausklappen
| WARNUNG Vermeiden Sie beim Ausklappen der Anhängerzugvorrichtung, sich in der Nähe des Stoßfängers aufzuhalten. |

1. Öffnen Sie die Heckklappe. An der rechten Kofferraumwand befindet sich ein Schalter zum Ein- und Ausklappen der Anhängerkupplung.
Damit die Anhängerkupplung ausgeklappt werden kann, muss die Anzeigeleuchte des Schalters orange leuchten.

2. Drücken Sie den Schalter und lassen Sie ihn wieder los. Ein zu langes
Drücken des Schalters kann dazu führen, dass der Ausklappvorgang nicht
gestartet wird.
> Die Anhängerkupplung wird entriegelt und wird nach
außen und unten geklappt - die Anzeigeleuchte blinkt orange.
| WARNUNG Drücken Sie die Taste zum Ein- und Ausklappen der Anhängerkupplung nicht, wenn ein Anhänger an das Fahrzeug angekuppelt ist. |

3. Führen Sie die Anhängerkupplung in ihre Endstellung und lassen Sie sie
einrasten - die Anzeigeleuchte leuchtet konstant orange.
> Damit ist die
Anhängerkupplung einsatzbereit.
| WARNUNG Achten sie unbedingt darauf, das Sicherheitsseil des Anhängers am dafür vorgesehenen Halter anzubringen. |
| ACHTUNG Nach einer Weile wird der
Stromsparmodus aktiviert und erlischt die Anzeigeleuchte.
Durch Schließen und erneutes Öffnen der Heckklappe wird das System wieder aktiviert. Dies gilt sowohl für das Ein- als auch für das Ausklappen der Anhängerkupplung. Wenn die Fahrzeugelektrik einen angekoppelten Anhänger erkennt, hört die Anzeige auf, konstant zu leuchten. |
Anhängerkupplung einklappen
| WICHTIG Kontrollieren Sie vor dem Einklappen der Anhängerkupplung, dass sich kein Stecker oder Adapter in der Steckdose befindet. |
1. Öffnen Sie die Heckklappe. Drücken Sie den Schalter an der rechten
Kofferraumwand und lassen Sie ihn wieder los. Ein zu langes Drücken des
Schalters kann dazu führen, dass der Einklappvorgang nicht gestartet wird.
> Die Anhängerkupplung wird automatisch entriegelt und nach unten geklappt -
die Anzeigeleuchte im Schalter blinkt orange.

2. Bringen Sie die Anhängerkupplung in ihre eingeklappte Endstellung und
lassen Sie sie einrasten.
> Wenn die Anhängerkupplung ordnungsgemäß
eingeklappt und eingerastet ist, leuchtet die Anzeigeleuchte im Schalter
konstant.

Themenbezogene Informationen
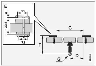
Maße und Befestigungspunkte der Anhängerzugvorrichtung.



Themenbezogene Informationen
Die Anhängerzugvorrichtung des Volvo XC90 II Gen ist ein Beispiel für durchdachte Ingenieurskunst. Die ein- und ausklappbare Kupplung lässt sich intuitiv bedienen und bietet maximale Flexibilität bei gleichzeitig hoher Sicherheit. Die technischen Daten und Warnhinweise sorgen für eine korrekte Nutzung und verhindern Schäden am Fahrzeug oder Anhänger.
Besonders die automatische Abschaltung der Stromversorgung am Anhängeranschluss schützt die Batterie und zeigt die intelligente Energieverwaltung des Volvo XC90 (2015–2024). Die klare Anzeige im Kofferraum und die Sicherheitsmechanismen beim Ausklappen unterstreichen die Benutzerfreundlichkeit.
Häufig gestellte Fragen
Kann ich die Anhängerkupplung bei angekoppeltem Anhänger ausklappen?
Nein, das System verhindert den Ausklappvorgang, wenn ein Anhänger erkannt wird – dies dient der Sicherheit.
Wie erkenne ich, ob die Kupplung korrekt eingerastet ist?
Die Anzeigeleuchte am Schalter leuchtet konstant orange – dies signalisiert die Einsatzbereitschaft der Kupplung.
Das Multi-Informationsdisplay im Honda Civic liefert dem Fahrer eine Vielzahl an nützlichen Informationen über den aktuellen Fahrzeugstatus. Angezeigt werden unter anderem der durchschnittliche Kraftstoffverbrauch, die verbleibende Reichweite, Außentemperatur, Kilometerzähler, Fahrzeugsystemwarnungen sowie individualisierbare Einstellungen. Die Anleitung erläutert zudem die Bedeutung von Warnsymbolen und gibt Hinweise zur optimalen Nutzung der Anzeige. Mehr erfahren: Honda Civic Multi-Informationsdisplay Das System unterstützt den Fahrer dabei, das Fahrzeug wirtschaftlich zu betreiben und auf mögliche Wartungsbedarfe rechtzeitig zu reagieren.
Hyundai Santa Fe. Kopfstütze. Sitzheizung. Sitzheizung mit Belüftung. Tasche an der Sitzlehne
Kopfstütze
Um den Fahrzeuginsassen Sicherheit und Komfort zu gewährleisten, sind der
Fahrersitz und der vordere Beifahrersitz mit Kopfstützen ausgestattet.
Die
Kopfstütze bi ...
Lexus RX450h. Automatische Bremsfunktion für hinter dem Fahrzeug kreuzenden
Verkehr (je nach Ausstattung)
Wenn die automatische Bremsfunktion für hinter dem Fahrzeug kreuzenden
Verkehr erkennt, dass die Möglichkeit einer Kollision mit einem sich nähernden
Fahrzeug besteht, wird die Ausgan ...